VÝHODY PROFILOVÉHO SYSTÉMU
VÝHODY PROFILOVÉHO SYSTÉMU
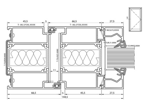
nižší váha celé konstrukce
vylepšené termoizolační vlastnosti
bezbariérový práh s přerušeným tepelným mostem
umožňuje snadné připojení k jiným systémům izool®, je vhodný do interiéru i exteriéru
systémové vložky z minerální vlny v případě požáru chrání konstrukci před nepříznivými účinky vysokých teplot

Tepelná izolace

Stavební šířka

Zasklení

Požární odolnost

Barvy




